Zum Hauptinhalt springen Zur Suche springen Zur Hauptnavigation springen
Telefonische Beratung: 02331 - 62 52 8-0 (Mo-Do: 7:45 - 16:00 Uhr und Fr: 7:45 - 14:30 Uhr)
Ihr Spezialist für professionelle Spanntechnik

Dreibacken-Kraftspannfutter N-208A6 Ø 210 mm

Produktinformationen "Dreibacken-Kraftspannfutter N-208A6 Ø 210 mm"

Dreibacken-Kraftspannfutter N-208A6 DIN 55026,
mit Durchgangsbohrung - Verzahnung 1,5 x 60°

- Typ N-208A6 Ø 210 mm
- Futterkörper aus Stahl
- alle Verschleißteile gehärtet und geschliffen
  für hohe Rundlaufgenauigkeit und Langlebigkeit
- Schmiernippel in jeder Grundbacke
- inkl. je 1 Satz Grund- und weiche Aufsatzbacken,
  Befestigungsschrauben, Zugrohradapterrohling

Ausführung: 3-Backen Drehfutter
DIN: 55026
Durchgangsbohrung: mit
Ø : 210 mm

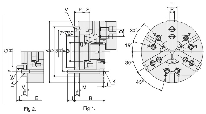
Technische Daten

Typ /
Type
Fig Backenhub /
Jaw stroke mm
Zugrohrhub /
Plunger stroke mm
Max. Betätigungskraft /
Max. pull force (kN)
Max. Spannkraft /
Max. gripping force (kN)
N-208A6 1 7,4 16 34,89 89
           
Max. Betätigungsdruck /
Max. operating pessure (kN)
Passende harte Aufsatzbacken /
Matching hard jaws
Passende weiche Aufsatzbacken /
Matching soft jaws
Passender Zylinder /
Matching cylinder
Max. Drehzahl /
Max. speed (rpm)
kg
26,5 HJ08 HC08 M1552 4900 25

 

Typ /
Type
A
mm
B
mm
D
mm
E
mm
F
mm
C
mm
H
mm
J
mm
K
N-208A6 210 103 25 17 106,375 170 133,35 18 6xM12
                   
  L
mm
M
mm
P
max.
P
min.
R
mm
S
mm
T
mm
U
max.
V
  52 5 31,5 15,5 14 20,5 37 M60x2,0 3xM6
                   
Inkl. je 1 Satz Grund- und weiche Aufsatzbacken, Befestigungsschrauben, Zugrohradapterrohling /
Incl. 1 set each of hardened base jaws and soft top jaws, fixation screws, blank draw tube adaptor
                   
Angaben ohne Gewähr, technische Änderungen vorbehalten /
Information provided without guarantee, technical changes reserved

Informationen zur Produktsicherheit:

  • Nur für technisch versierte und mit dem Produkt vertraute Anwender sowie Handwerker geeignet.
  • Nur für den vorhergesehenen Verwendungszweck geeignet.
  • Unsachgemäße Verwendung kann zu Schäden und Verletzungen führen.

Importeur/Hersteller:

Gedema GmbH
Berchumer Str. 74
58093 Hagen

E-Mail: info@messwelt.com
E-Mail: info@gedema.com

Ausgenommen sind Artikel bei denen explizit der Hersteller genannt wird.

Produktgalerie überspringen

Zubehör

Harte Aufsatzbacke Typ HJ08 für Kraftspannfutter
Harte Aufsatzbacke HJ08 für Kraftspannfutter - Verzahnung 1,5 x 60°- Backen kompatibel zu Kitagawa Kraftspannfuttern- Preis pro Stück

72,23 €*
Lagerbestand: 83
Ausdrehvorrichtung für Kraftspannfutter Typ 208
Ausdrehvorrichtung für Kraftspannfutter - für Futter-Typ 208 - zum präzisen Ausdrehen von Spannbacken- schnelle und flexible Handhabung

256,26 €*
Lagerbestand: 4
Kraftspannfutter-Nutenstein Typ N0208-0H
Nutenstein für Kraftspannfutter,Typ N0208-0H - passend zu Futter: N-208, NB-208 - Lieferung erfolgt ohne Schrauben- Preis pro Stück

22,64 €*
Lagerbestand: 94
Weiche Aufsatzbacke HC08 für Kraftspannfutter
Weiche Aufsatzbacke Typ HC08 für Kraftspannfutter - Verzahnung 1,5 x 60°- Backen kompatibel zu Kitagawa Kraftspannfuttern- Preis pro Stück

15,79 €*
Lagerbestand: 255
Hydraulikzylinder 8M1552 für Kraftspannfutter
Kraftspannfutter Hydraulikzylinder Typ 8M1552mit Durchgang für hohe Drehzahlen - inkl. Kühlmittelsammler - kompakte und leichte Bauweise - große Bohrung- geeignet für hohe Drehzahlen

1.427,04 €*
Lagerbestand: 3
Weiche Segmentbacken für Kraftspannfutter Typ 208
Weiche Segmentbacken für Kraftspannfutter,Verzahnung 1,5 x 60° - für Futter-Typ 208 - Material: Stahl- besonders für verformungsempfindliche Werkstücke   geeignet - Spannkraftübertragung auf große Spannfläche, da   das Werkstück fast vollständig umschlossen wird - können als Backenrohling für Sonderbacken   genutzt werden - Preis pro Satz

339,03 €*
Lagerbestand: 3
Weiche Segmentbacken für Kraftspannfutter Typ 208
Weiche Segmentbacken für Kraftspannfutter,Verzahnung 1,5 x 60° - für Futter-Typ 208 - Material: Stahl- besonders für verformungsempfindliche Werkstücke   geeignet - Spannkraftübertragung auf große Spannfläche, da   das Werkstück fast vollständig umschlossen wird - können als Backenrohling für Sonderbacken   genutzt werden - Preis pro Satz

346,89 €*
Lagerbestand: 6