Zum Hauptinhalt springen Zur Suche springen Zur Hauptnavigation springen
Telefonische Beratung: 02331 - 62 52 8-0 (Mo-Do: 7:45 - 16:00 Uhr und Fr: 7:45 - 14:30 Uhr)
Ihr Spezialist für professionelle Spanntechnik

Dreibacken-Kraftspannfutter N-210A6 Ø 254 mm

Produktinformationen "Dreibacken-Kraftspannfutter N-210A6 Ø 254 mm"

Dreibacken-Kraftspannfutter N-210A6 DIN 55026,
mit Durchgangsbohrung - Verzahnung 1,5 x 60°

- Typ N-210A6 Ø 254 mm
- Futterkörper aus Stahl
- alle Verschleißteile gehärtet und geschliffen
  für hohe Rundlaufgenauigkeit und Langlebigkeit
- Schmiernippel in jeder Grundbacke
- inkl. je 1 Satz Grund- und weiche Aufsatzbacken,
  Befestigungsschrauben, Zugrohradapterrohling

Ausführung: 3-Backen Drehfutter
DIN: 55026
Durchgangsbohrung: mit
Ø : 254 mm

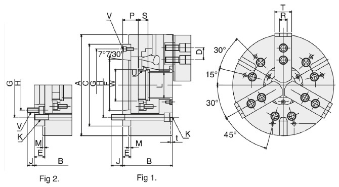
Technische Daten

Typ /
Type
Fig Backenhub /
Jaw stroke mm
Zugrohrhub /
Plunger stroke mm
Max. Betätigungskraft /
Max. pull force (kN)
Max. Spannkraft /
Max. gripping force (kN)
N-210A6 2 8,8 19 43 111
           
Max. Betätigungsdruck /
Max. operating pessure (kN)
Passende harte Aufsatzbacken /
Matching hard jaws
Passende weiche Aufsatzbacken /
Matching soft jaws
Passender Zylinder /
Matching cylinder
Max. Drehzahl /
Max. speed (rpm)
kg
27,5 HJ10 HC10 M1875 4200 41

 

Typ /
Type
A
mm
B
mm
D
mm
E
mm
F
mm
C
mm
H
mm
J
mm
K
N-210A6 254 120 30 25 106,375 220 133,35 18 6xM16
                   
  L
mm
M
mm
P
max.
P
min.
R
mm
S
mm
T
mm
U
max.
V
  75 5 33,5 14,5 16 25 42 M85x2,0 6xM12
                   
Inkl. je 1 Satz Grund- und weiche Aufsatzbacken, Befestigungsschrauben, Zugrohradapterrohling /
Incl. 1 set each of hardened base jaws and soft top jaws, fixation screws, blank draw tube adaptor
                   
Angaben ohne Gewähr, technische Änderungen vorbehalten /
Information provided without guarantee, technical changes reserved

Informationen zur Produktsicherheit:

  • Nur für technisch versierte und mit dem Produkt vertraute Anwender sowie Handwerker geeignet.
  • Nur für den vorhergesehenen Verwendungszweck geeignet.
  • Unsachgemäße Verwendung kann zu Schäden und Verletzungen führen.

Importeur/Hersteller:

Gedema GmbH
Berchumer Str. 74
58093 Hagen

E-Mail: info@messwelt.com
E-Mail: info@gedema.com

Ausgenommen sind Artikel bei denen explizit der Hersteller genannt wird.

Produktgalerie überspringen

Zubehör

Harte Aufsatzbacke Typ HJ10 für Kraftspannfutter
Harte Aufsatzbacke HJ10 für Kraftspannfutter - Verzahnung 1,5 x 60°- Backen kompatibel zu Kitagawa Kraftspannfuttern- Preis pro Stück

87,16 €*
Lagerbestand: 150
Ausdrehvorrichtung für Kraftspannfutter Typ 210
Ausdrehvorrichtung für Kraftspannfutter - für Futter-Typ 210 - zum präzisen Ausdrehen von Spannbacken- schnelle und flexible Handhabung

278,66 €*
Lagerbestand: 2
Weiche Aufsatzbacke HC10 für Kraftspannfutter
Weiche Aufsatzbacke Typ HC10 für Kraftspannfutter - Verzahnung 1,5 x 60°- Backen kompatibel zu Kitagawa Kraftspannfuttern- Preis pro Stück

17,25 €*
Lagerbestand: 196
Kraftspannfutter-Nutenstein Typ N0210-0H
Nutenstein für Kraftspannfutter,Typ N0210-0H - passend zu Futter: N-210, NB-210 - Lieferung erfolgt ohne Schrauben- Preis pro Stück

23,72 €*
Lagerbestand: 84
Hydraulikzylinder 10M1875 für Kraftspannfutter
Kraftspannfutter Hydraulikzylinder Typ 10M1875mit Durchgang für hohe Drehzahlen - inkl. Kühlmittelsammler - kompakte und leichte Bauweise - große Bohrung- geeignet für hohe Drehzahlen

1.815,89 €*
Lagerbestand: 1
Weiche Segmentbacken für Kraftspannfutter Typ 210
Weiche Segmentbacken für Kraftspannfutter,Verzahnung 1,5 x 60° - für Futter-Typ 210 - Material: Stahl- besonders für verformungsempfindliche Werkstücke   geeignet - Spannkraftübertragung auf große Spannfläche, da   das Werkstück fast vollständig umschlossen wird - können als Backenrohling für Sonderbacken   genutzt werden - Preis pro Satz

460,23 €*
Lagerbestand: 5